Morten Sahl Madsen

Test- og forbrugerredaktør

E-Mail

m.madsen@cw.dk

Twitter

@mortensahl

Linkedin

Se Morten's LinkedIn profil

Jeg er test- og forbrugerredaktør hos Computerworld, hvor min byline vil være at finde på artikler om blandt andet teknologi, gadgets og anmeldelser. 

Jeg har tidligere arbejdet hos tv2.dk, hvor jeg arbejdede på tværs af redaktionene, deriblandt nyhederne.tv2.dk og Beep.tv2.dk.

Jeg fik min første computer som seksårig og har siden været dybt fascineret af alt, hvad der findes mellem spillekonsoller til softwaren bag industrimaskiner.
1.552 artikler på Computerworld

Morten Sahl Madsen

18

Kun 0,5 procent af alle Android-telefoner har modtaget den seneste opdatering - men nu er Samsung på vej

Det tager altid lang tid for Android-producenterne at udsende opdateringer til deres smartphones. Men nu ser det ud til, at ejere af de nyeste Samsung-telefoner snart kan blive glade

14. december 2017 kl. 11.58 | læs »
3

Første resultater klar: Sådan fungerer de nye ARM-pc’er med Windows 10

HP og Asus er klar med computere med ARM-processorer, men hvad betyder det egentlig? ARM-processorer plejer jo at høre til i smartphones

13. december 2017 kl. 10.30 | læs »
3

Live fra Retten i Glostrup (afsluttet): Retten vurderer: Må Computerworld fortsætte liveblog eller ej?

Live fra Retten i Glostrup: Vi er tilbage i retten til Atea-sagens tredjesidste dag inden jul. Følg med i sagen her live og hør om, hvorvidt en rejse til USA var ren ferie på skatteydernes penge eller ej.

13. december 2017 kl. 09.04 | læs »

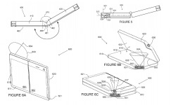
Nye rygter om en “Surface Phone”: App-tekst og nye patenter giver hint om potentielt nyt Surface-produkt

Windows Phone er død og begravet, men Microsoft har ikke glemt drømmen om en mobil computer med Windows. Nye rygter peger på en særlig enhed med en unik skærm

12. december 2017 kl. 10.40 | læs »
4

Ny topmobilprocessor afsløret: Her er de fire ting, du skal vide om Snapdragon 845

Qualcomm har præsenteret sin Snapdragon 845-chipsæt, som vil være at finde i mange af næste års bedste Android-telefoner. Her er alt, hvad du skal vide om chippen

11. december 2017 kl. 09.30 | læs »
5

Nvidia lancerer Titan V til 20.000 kroner: Det kraftigste pc-grafikkort nogensinde

Nvidia har lanceret selskabets første grafikkort i sin nye Volta-arkitektur, Der er tale om verdens hurtigste grafikkort til forbrugere

8. december 2017 kl. 14.58 | læs »
2

Efter masser af luksusbilag i Atea-bestikkelsesretssagen: Tiltalte it-topfolk fastholder uskyld - vil frifindes

Efter 18 retsdage med timelange afhøringer af de tiltalte og tonsvis af bilag står sagen stadig åben. "Hvis der er kommet noget frem her under sagen, så er det noget, der taler for vores påstand om frifindelse," mener forsvarer Michael Skjødt.

8. december 2017 kl. 14.31 | læs »

Advents-quiz: Vind flotte og enkle smart-pærer fra LIFX til dit hjem - svar på tre spørgsmål

Computerworld er i julehumør. Her kommer den anden af vores i alt fire advents-quizzer. Vi stiller et sæt smarte og ultraenkle elpærer på højkant. Deltag her.

8. december 2017 kl. 13.31 | læs »

It-professor: Region bør seriøst overveje at droppe Sundhedsplatformen

Problemerne med Sundhedsplatformen er blevet så voldsomme, at professor i sundheds-it Jørgen Bansler foreslår at genoverveje systemet.

8. december 2017 kl. 08.05 | læs »
1

Live fra bestikkelsessagen: Problemer med programmet på USA-tur - "Hvordan kan I være to steder på samme tid?"

I Retten i Glostrup er vi nået til endnu et retssmøde i den store bestikkelsessag, der involverer tidligere topledere fra Atea og it-chefer fra Region Sjælland.

7. december 2017 kl. 09.02 | læs »