Nye rygter om en “Surface Phone”: App-tekst og nye patenter giver hint om potentielt nyt Surface-produkt

Windows Phone er død og begravet, men Microsoft har ikke glemt drømmen om en mobil computer med Windows. Nye rygter peger på en særlig enhed med en unik skærm

Artikel top billede

Et foto af Microsoft Courier, som den formodentligt ville have endt med at se ud.

Endnu en måned og derfor endnu en bunke Surface Phone-rygter.

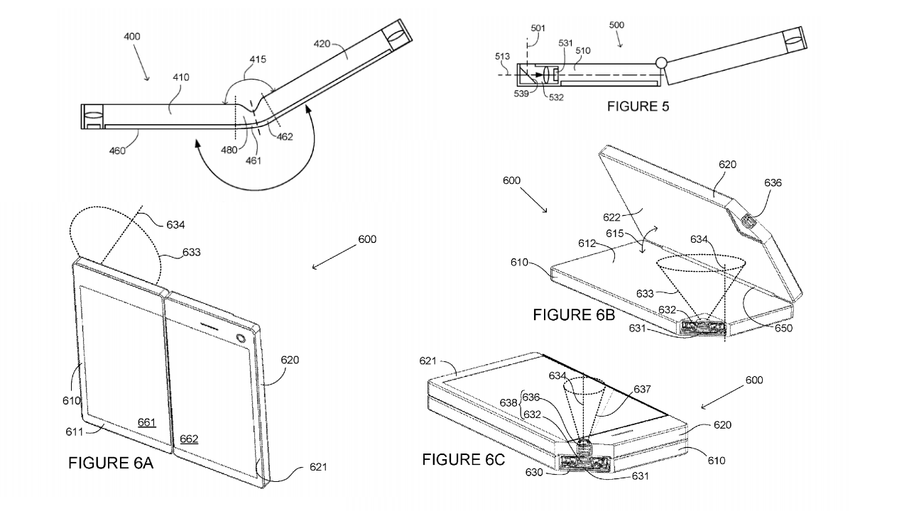
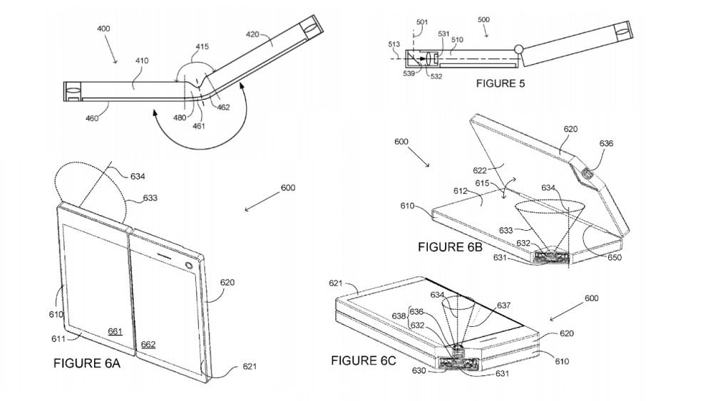
Microsoft har tidligere søgt patenter på sammenklappelige smartphones med foldbare skærme, og nu følger der endnu et patent samt en beskrivelse i en app, der er yderst interessant.

Patentet er blevet opdaget af Microsoft-lækkeren “WalkingCat” viser foldbare computere, eller hvad man kunne tro var en smartphone.

Patentet er hovedsageligt rettet mod enhedens hængsel, men viser også nogle andre interessante detaljer.

Blandt andet at skærmpladsen fordobles, når enheden foldes ud, og at telefonen kun har et kameramodul, men når telefonen foldes sammen, dækkes kameraet af et ekstra objektiv, der ændrer kameraets vidde.

Det kunne betyde, at kameraet fungerer som vidvinkel, når enheden er foldet ud, og som en zoom-linse, når den er klappet sammen.

Ligeledes indeholder patentet hovedsageligt navne fra det gamle Nokia-hold, som Microsoft opkøbte tilbage i 2014. Det er specifikt gamle Nokia-navne, der arbejdede i Nokias kamera-afdeling, dengang Nokia havde nogle af de bedste mobilkameraer på markedet.

Courier?

Microsoft dræbte definitivt Windows Phones sidste år, efter at kun nogle få procent af verdens mobilbrugere aktivt havde valgt en Windows Phone frem for Android eller iOS.

Dog har Microsoft ikke helt droppet drømmen om en mobil enhed med Windows. Satya Nadella har flere gange udtalt, at Microsoft er på vej med en mobilenhed, men den vil ikke ligne en smartphone, som vi kender den.

Den kendte Microsoft-lækker WalkingCat har også opdaget et andet hint til en unik mobilenhed fra Microsoft i en ny app, som Microsoft for nylig har lanceret.

Læs også: Nye ARM-baserede Windows-computere sætter en helt ny kurs for Windows: En fremtid i clouden

Appen hedder Whiteboard og er en tegne og note-app til touchskærme med stylus-penne ligesom Microsofts Surface-enheder, men graver man i appen finder man referencer til en “Journal-app” med “venstre og højre side.”

Både patenter og referencer bliver bekræftet af flere amerikanske medier, der fortæller, at en sammenklappelig smartphone/tablet bliver testet internt hos Microsoft, og samtidig bringer det minder tilbage til Microsofts glemte Courier-enhed.

Courier var en tablet med to skærme tilbage i 2008, der lignede en notesbog, og som skulle fungere som kalender, notesbog, internetsurfing og kontaktopslag.

Dette var før iPad’en blev lanceret, og ideen blev angiveligt droppet hos Microsoft i 2010. 

For nylig lancerede HP og Asus også bærbare computere, der blev afviklet via en ARM-processor. ARM-processorer finder du normalt kun i smartphones og tablets, men processoren kan emulere ægte Windows 10-programmet, hvilket kan være til tyndere og lettere Windows 10-enheder.

Som eksempelvis en Surface Phone. Man kan kun drømme.

Læs også: Her er de første Windows-pc'er med ARM-processorer: Lover mere end 22 timers batteritid og 4G/LTE

Læses lige nu
    Computerworld Events

    Vi samler hvert år mere end 6.000 deltagere på mere end 70 events for it-professionelle.

    Ekspertindsigt – Lyt til førende specialister og virksomheder, der deler viden om den nyeste teknologi og de bedste løsninger.
    Netværk – Mød beslutningstagere, kolleger og samarbejdspartnere på tværs af brancher.
    Praktisk viden – Få konkrete cases, værktøjer og inspiration, som du kan tage direkte med hjem i organisationen.
    Aktuelle tendenser – Bliv opdateret på de vigtigste dagsordener inden for cloud, sikkerhed, data, AI og digital forretning.

    It-løsninger | Online

    Kod smartere med GitHub Copilot

    Få styr på GitHub Copilot og skriv bedre kode hurtigere. Se hvordan Copilot løser opgaver, sparrer på fejl og løfter komplekse workflows. Oplev live demo og lær hvordan du kommer i gang med licenser og opsætning.

    Sikkerhed | København

    Cyber Threats

    Få teknisk indsigt og konkrete løsninger til at modstå moderne cyberangreb. Lær af fejl, stop angreb i tide og byg systemer med ægte resiliens. Fokus på lavniveau-detektion, netværksovervågning og hurtig gendannelse. Deltag i Cyber Threats fra...

    It-løsninger | København V

    Platform X 2026: Forretning, teknologi og transformation

    Mød verdens stærkeste og mest effektive platforme der driver den digitale transformation samlet i København - og dyk ned i den nyeste teknologi.

    Se alle vores events inden for it

    Navnenyt fra it-Danmark

    SAP SuccessFactors Partner Pentos har pr. 1. marts 2026 ansat Plamena Cherneva som Seniorkonsulent indenfor SuccessFactors HCM. Hun skal især beskæftige sig med konfiguration og opsætning af SuccessFactors suiten, samt udvikle smarte løsninger til mellemstore danske virksomheder. Hun kommer fra en stilling som løsningsarkitekt indenfor HR IT hos LEO Pharma. Hun har tidligere beskæftiget sig med HR procesdesign, stamdata og onboarding. Nyt job

    Plamena Cherneva

    SAP SuccessFactors Partner Pentos

    Renewtech ApS har pr. 1. april 2026 ansat Boris Sudar som Senior IT Specialist. Han skal især beskæftige sig med at sikre, at Renewtech cloudbaseret infrastruktur fortsætter på sit højeste niveau, mens han også skal drive system udvikling. Han kommer fra en stilling som Senior IT Specialist hos Eurowind Energy. Han har tidligere beskæftiget sig med Microsoft 365, Intune og sikker endepunktsstyring for hybrid og cloudbaseret infrastrukturer. Nyt job

    Boris Sudar

    Renewtech ApS

    Guardsix har pr. 1. april 2026 ansat Annbritt Andersen som Global Chief Revenue Officer (CRO). Hun skal især beskæftige sig med at geare organisationen til en markant skalering i Europa. Hun har tidligere beskæftiget sig med globale kommercielle strategier for nogle af branchens allerstørste spillere, herunder Microsoft. Nyt job
    Renewtech ApS har pr. 15. marts 2026 ansat Per Forberg som Account Manager for Sustainable Relations. Han skal især beskæftige sig med etablere nye partnerskaber med henblik på ITAD og sourcing kontrakter med hostingvirksomheder og strategiske slutbrugere. Han kommer fra en stilling som Nordic Key Account Manager hos Tesa. Han er uddannet hos Lund University og har en MBA i Management. Han har tidligere beskæftiget sig med at styrke salgsaktiviteter og partnerskaber på tværs af nordiske markeder. Nyt job

    Per Forberg

    Renewtech ApS