Se Google og Apples skøre smartphone-patenter

Google vil gøre skærmen dårligere for at spare strøm, mens Apple arbejder på et display, der løber hele vejen rundt om telefonen.

Artikel top billede

En af mulighederne for at få et smugkig på fremtidens it-produkter er at følge med i patentansøgningerne fra de store producenter. Apple, Google og de andre store it-firmaer vil helst ikke afsløre noget om, hvad de er på vej med, men de er heller ikke interesseret i, at konkurrenterne kopierer deres produkter. Derfor sørger de for at beskytte sig selv med patenter - som senere bliver brugt i de mange patent-krige hos domstole verden over.

De seneste patentansøgninger fra Google og Apple fortæller en del om, hvordan deres kommende produkter måske kommer til at se ud. Der er selvfølgelig ikke nogen garanti for, at den teknologi, der er beskrevet i patenterne, faktisk kommer i færdige produkter.

Et Google-patent med overskriften "Power saving techniques for battery-powered computing devices" beskriver, hvordan man vil forlænge batteri-levetiden i smartphones. Det skal ske ved at indbygge software, der måler, hvor meget energi der er tilbage i batteriet - og så automatisk skruer ned for billedkvaliteten, når batteriet er ved at være tømt.

Det betyder altså, at skærmen gradvist bliver dårligere, når batteriet trænger til en opladning. I det første trin er det kun bestemte animations-effekter, der deaktiveres. Det betyder, at processoren skal arbejde mindre, og det sparer en smule strøm.

I det næste trin er effekten mere dramatisk. Her bliver billedopløsningen reduceret. Google nævner en opløsning på 480 x 320 pixels for en mobil-skærm i sin patentansøgning. Det er betydeligt lavere end opløsningen i de aktuelle HD-telefoner.

Det tredje og sidste trin i denne energispare-plan sender et meget klart signal til brugeren om, at det er tid til at finde en oplader. I dette trin kan skærmen kun vise to farver - rød og sort. Google forklarer det med, at OLED-skærme bruger mindst energi på disse to farver.

Hele telefonen er en skærm

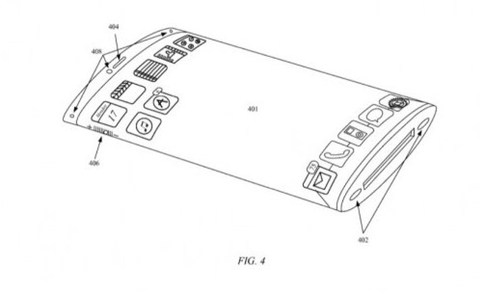
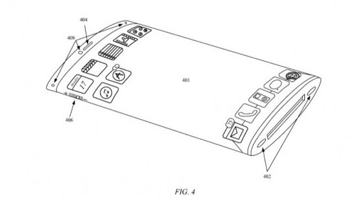
Apple har også indsendt en interessant patentansøgning med titlen "Electronic device with wrap around display". Den beskriver en iPhone, hvor touchscreen-displayet løber hele vejen rundt om telefonen. Her er der slet ingen fysiske knapper mere. Brugeren skal i stedet trykke direkte på touch-skærmen. Det spændende er, at den enkelte applikation selv kan definere de berøringsfølsomme områder på siden af telefonen og deres funktion. Det giver f.eks. helt nye muligheder for spiludviklere.

Patentansøgningen indeholder forholdsvis detaljerede billeder, og det er usædvanligt for Apple, som normalt er meget hemmelighedsfuld omkring sine produkter. Den største udfordring er sandsynligvis det buede display i telefonen, som har et glas-ydre med metal i begge ender.

Apple beskriver også, hvordan Amoled-displayet skal anbringes i telefonen på en opvarmet og sammenrullet elliptisk folie, der vender tilbage til sin normale form, når den køler ned. Det skulle også fungere med en halvgennemsigtig skærm i to lag, så man kan opnå en form for dybdevirkning, skriver Apple.

Den nødvendige skærmteknologi findes allerede. Sony kunne allerede i 2010 vise en OLED-skærm, der kan rulles sammen omkring en blyant og så foldes ud igen.

Læses lige nu

    Capgemini Danmark A/S

    SAP Engagement Manager

    Midtjylland

    Netcompany A/S

    Microsoft Operations Engineer

    Midtjylland

    Politiets Efterretningstjeneste

    Er du vores næste iOS hacker?

    Københavnsområdet

    Netcompany A/S

    IT Consultant

    Københavnsområdet

    Computerworld Events

    Vi samler hvert år mere end 6.000 deltagere på mere end 70 events for it-professionelle.

    Ekspertindsigt – Lyt til førende specialister og virksomheder, der deler viden om den nyeste teknologi og de bedste løsninger.
    Netværk – Mød beslutningstagere, kolleger og samarbejdspartnere på tværs af brancher.
    Praktisk viden – Få konkrete cases, værktøjer og inspiration, som du kan tage direkte med hjem i organisationen.
    Aktuelle tendenser – Bliv opdateret på de vigtigste dagsordener inden for cloud, sikkerhed, data, AI og digital forretning.

    It-løsninger | Nordhavn

    SAP Excellence Day 2026

    Få konkrete erfaringer med S/4HANA, automatisering og AI i praksis. Hør hvordan danske virksomheder realiserer gevinster og etablerer effektive SAP-løsninger. Vælg fysisk deltagelse hos SAP eller deltag digitalt.

    Infrastruktur | København

    Datacenterstrategi 2026

    Denne konference bidrager med viden om, hvordan du balancerer cloud, on-premise og hybrid infrastruktur med fokus på kontrol, compliance og forretning.

    Sikkerhed | Aarhus C

    Identity Festival 2026 - Aarhus

    Er du klar til en dag, der udfordrer din forståelse af, hvad Identity & Access Management kan gøre for din organisation? En dag fyldt med indsigt, inspiration og løsninger, der sætter kursen for, hvordan vi arbejder med IAM i de kommende år.

    Se alle vores events inden for it

    Navnenyt fra it-Danmark

    Sourcing IT har pr. 2. februar 2026 ansat Susanne Sønderskov som Salgsdirektør. Hun skal især beskæftige sig med at styrke Sourcing IT’s kommercielle fundament, skalere salgsindsatsen og øge tilstedeværelsen bl.a. hos jyske kunder. Hun kommer fra en stilling som Salgsdirektør hos Right People Group ApS. Hun har tidligere beskæftiget sig med salgsledelse inden for IT-freelanceleverancer og komplekse kundeaftaler, både privat og offentligt. Nyt job

    Susanne Sønderskov

    Sourcing IT

    Forte Advice har pr. 5. januar 2026 ansat Claes Frederiksen som Commercial Director. Claes skal især beskæftige sig med at løfte den kommercielle modenhed i teknologiprojekter og sikre, at teknologi bliver brugt som strategisk løftestang. Claes kommer fra en stilling som Senior Client Partnership Director, Nordics hos Valtech. Claes har tidligere beskæftiget sig med teknologivalg og platformstrategi til teknologidrevet forretningsudvikling og marketing initiativer. Nyt job

    Claes Frederiksen

    Forte Advice

    Connexa A/S har pr. 1. januar 2026 ansat Ivan Nielsen som IT Konsulent. Han skal især beskæftige sig med IT Infrastruktur og services. Han kommer fra en stilling som IT Konsulent hos IT Forum Gruppen A/S. Han har tidligere beskæftiget sig med IT Infrastruktur og konsulentopgaver. Nyt job

    Ivan Nielsen

    Connexa A/S

    Idura har pr. 1. januar 2026 ansat Lars Mørch, 54 år,  som VP of Sales. Han skal især beskæftige sig med Iduras salgsorganisation, implementere en ny go-to-market-model og sikre udviklingen af virksomhedens identitetsplatform. Han kommer fra en stilling som Regional Vice President hos Avallone. Han er uddannet på CBS og har en BA i Organization & Innovation. Han har tidligere beskæftiget sig med internationalt SaaS-salg og forretningsudvikling fra både scale-ups og globale teknologivirksomheder. Nyt job

    Lars Mørch

    Idura