Vil præsentere ny hardware onsdag: Er dette Microsofts nye desktop-udgave af Surface?

Microsoft er ifølge brancherygter på trapperne med en desktop-version af Surface-computeren med navnet Surface Studio.

Artikel top billede

Microsoft vil onsdag løfte sløret for en række nye produkter og nyheder til et hardware- arrangement i New York for tech-pressen og tech-analytikere.

Der har i et stykke tid floreret forskellige rygter om, hvad Microsoft her vil præsentere af nyheder - nogle sikkert nok mere valide end andre.

Meget tyder imidlertid på, at slagnummeret bliver en helt ny desktop-version af Surface-pc'en.

Surface desktop-computer

Microsoft har haft pæn succes med 2-in-1 computeren Surface, som med sit slanke ydre og skrappe specs har vundet pænt indpas i markedet.

Noget kunne tyde på, at Microsoft til arrangementet onsdag vil løfte sløret for en helt ny model i Surface-familien, nemlig en Surface desktop-computer med de mulige navne Surface Studio.

Der er flere indikationer herpå. Eksempelvis har det tyske site Winfuture skrevet om et nyt ergonomisk Surface-tastatur, som Microsoft er på vej med sammen med en helt ny Surface-mus, som Windows Central skriver om.

Hvad skal disse to enheder så forbindes til?

Sandsynligvis en pc, som er bygget efter 'all-in-one-'-princippet.

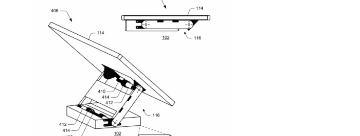
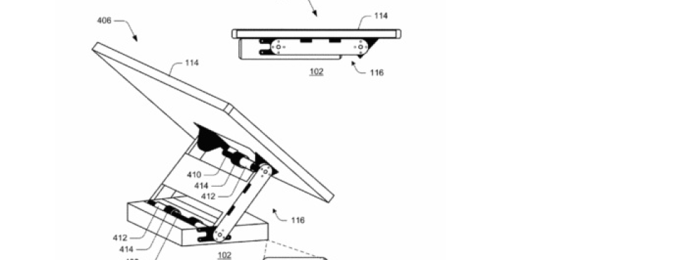
Microsoft indgav i februar desuden en patentansøgning på en såkaldt 'modular computing device,' som måske kan indikere, hvad der kan være på vej.

Der er tale om en særlig hængslet - og udskiftelig - monitor, der kan vippes og drejes, så den både kan ligge fladt, stå lodret eller anvendes som almindelig computerskærm let tiltet.

Desktop-computeren vil i givet fald helt sikkert indeholde et avanceret kamera, så ansigtsgenkendelses-softwaren i Windows Hello kan anvendes.

Computerworlds amerikanske nyhedsbureau spekulerer desuden i muligheden for, at den nye computer vil indeholde muligheden for at projicere skærmbilledetm trådløst over på andre Surface-computere i nærheden eller at docke Windows Phone direkte i pc'en.

"I Microsofts økossystem er rå performance ikke nær så vigtig som fleksibilitet og produktivitet," lyder det fra nyhedsbureauet.

Også den kendte Microsoft-blogger Mary Jo Foley er inde på disse tanker. Ifølge hende har Microsoft udviklet den nye pc under arbejdstitlen 'Cardinal', og der er ifølge hende tale om en maskine, der kan 'omdanne dit skrivebord til et studie."

Andre kilder mener, at Surface Studio/Cardinal vil blive leveret med tre monitor-størrelser, nemlig 21, 24 og 27 tommer.

Der kan således blive tale om den første forbruger-rettede udgave af kontor-hardwaren Sirface Hub, som du kan læse mere om her: Nu kommer Microsofts nye produkt til Danmark: Vi har prøvekort Surface Hub

Læs også:

Overblik: Microsofts kæmpesatsning på intelligente systemer: Her er de tre pejlemærker

Er du klar? Sådan skal Windows 10 blive en lækkerbidsken for virksomhederne

Læses lige nu
    Computerworld Events

    Vi samler hvert år mere end 6.000 deltagere på mere end 70 events for it-professionelle.

    Ekspertindsigt – Lyt til førende specialister og virksomheder, der deler viden om den nyeste teknologi og de bedste løsninger.
    Netværk – Mød beslutningstagere, kolleger og samarbejdspartnere på tværs af brancher.
    Praktisk viden – Få konkrete cases, værktøjer og inspiration, som du kan tage direkte med hjem i organisationen.
    Aktuelle tendenser – Bliv opdateret på de vigtigste dagsordener inden for cloud, sikkerhed, data, AI og digital forretning.

    Sikkerhed | København

    Strategisk It-sikkerhedsdag 2026 - København

    Få overblik over cybersikkerhedens vigtigste teknologier, trusler og strategiske valg. Hør skarpe oplæg om AI-risici, forsvar, compliance og governance. Vælg mellem to spor og styrk både indsigt og netværk. Deltag i København 20. januar.

    Andre events | København

    Executive Conversations: Fra hype til afkast – her er vinderne af AI-ræset

    Få et klart overblik over AI’s reelle effekt i danske virksomheder. Arrangementet giver unge talenter og ambitiøse medarbejdere viden, der løfter karrieren, skærper beslutninger og gør dig klar til at præge den digitale udvikling. Læs mere og...

    Sikkerhed | Aarhus C

    Strategisk It-sikkerhedsdag 2026 - Aarhus

    Få overblik over cybersikkerhedens vigtigste teknologier, trusler og strategiske valg. Hør skarpe oplæg om AI-risici, forsvar, compliance og governance. Vælg mellem tre spor og styrk både indsigt og netværk. Deltag i Aarhus 22. januar.

    Se alle vores events inden for it

    Navnenyt fra it-Danmark

    Circle Of Bytes ApS har pr. 1. maj 2025 ansat Jeanette Kristiansen som Account Manager. Hun skal især beskæftige sig med at opbygge og styrke relationer til kunder og samarbejdspartnere, samt sikre det rette match mellem kunder og konsulenter. Nyt job

    Jeanette Kristiansen

    Circle Of Bytes ApS

    Danske Spil har pr. 1. oktober 2025 ansat Jesper Krogh Heitmann som Brand Manager for Oddset. Han skal især beskæftige sig med at udvikle og drive brandets strategi og sikre en rød tråd på tværs af alle platforme og aktiviteter. Han kommer fra en stilling som Marketing & Communications Manager hos Intellishore. Nyt job

    Jesper Krogh Heitmann

    Danske Spil

    Enterprise Rent-A-Car har pr. 1. september 2025 ansat Christian Kamper Garst som Senior Key Account Manager. Han skal især beskæftige sig med at vinde markedsandele i hele Norden som led i en storstilet turnaround-strategi. Han kommer fra en stilling som Salgsdirektør hos Brøchner Hotels. Nyt job

    Christian Kamper Garst

    Enterprise Rent-A-Car

    Netip A/S har pr. 15. september 2025 ansat Jimmi Overgaard som Key Account Manager ved netIP's kontor i Viborg. Han kommer fra en stilling som Sales Executive hos Globalconnect A/S. Nyt job

    Jimmi Overgaard

    Netip A/S